WAEC - Physics (2017)

1

The diagram above is a micrometer screw gauge. Determine its reading.

Answer
(B)
2.46mm
2
Which of the following is the dimension for impulse?
Answer
(A)
MLT\(^{-1}\)
3
A body accelerates uniformly from rest at 2\(ms^{-2}\). Calculate its velocity when it has travelled a distance of 9m.
Answer
(C)
6.0\(ms^{-1}\)
4
Which of the following statements about matter is not correct?
Answer
(A)
Molecules of solids move more freely than molecules of liquids and gases
5

A ball is projected horizontally from the top of a tower. Neglecting air resistance, which of the following statements about its motion is/are correct?

I. Vertical acceleration on the ball decreases as it falls

II. The vertical force on the ball remains constant

III. The vertical speed of the ball increases as it falls

Answer
(D)
II and III only
6

Two forces 100N and 60N act on an object of mass 10kg as illustrated in the diagram above. Neglecting friction, calculate the acceleration of the object.

Answer
(B)
13.4\(ms^{-2}\)
7
A body weighing 14N in air is partially immersed in water. If the mass of water displaced in the process is 200g, calculate the upthrust on the body. [g=10\(m/s^{2}\)]
Answer
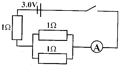
(A)
2.0N
8
Which of the following processes is not a surface phenomenon?
Answer
(A)
Condensation
9
A chemical balance is used for measuring
Answer
(B)
mass
10

A body is whirled round a circular path at constant speed. Which of the following diagrams correctly indicates the direction of the body's velocity (v) and its acceleration (a)?

Answer
(B)
II
11
A motorist travelling at 72\(kmh^{-1}\) had his eyes shut for 0.4s during a hard sneeze. Calculate the distance covered by him during this time interval.
Answer
(D)
8.0m
12
The angle at which a projectile must be fired to cover maximum range is 
Answer
(B)
45°
13
A body can undergo the following types of motion except
Answer
(D)
relative
14

Which of the following graphs correctly represents the relationship between the kinetic energy (K.E) and the displacement (d) from point of release of a swinging pendulum bob?

Answer
(B)
II
15
The energy stored in a spring of stiffness constant k = 2000\(Nm^{-1}\) when extended 4cm is
Answer
(B)
1.60J
16
Ice of mass 50g at 0°C was completely melted by 70% of the total heat energy supplied. Calculate the total heat energy supplied  [Specific latent heat of fusion of ice = 336\(Jg^{-1}\)]
Answer
(D)
24000J
17
A plane is inclined at an angle \(\theta\) to the horizontal. Its velocity ratio is
Answer
(C)
\(\frac{1}{sin\theta}\)
18

The diagram above illustrates a beaker of water being heated. It is observed that as the bubbles rise they get bigger in size.The reason for this observation is

Answer
(A)
water pressure on the bubbles decreases
19
Which of the following devices converts light energy to electrical energy?
Answer
(C)
Solar cell
20
A motor of a corn mill machine operates on electrical energy of \(1.44 \times 10^{5}\)J. If one-quarter of the energy is wasted on sound and heat, determine the efficiency of the machine.
Answer
(D)
75%
21
Thermal energy added or removed from a substance that changes the state of the substance is called
Answer
(A)
latent heat
22
The maximum density of water occurs at a temperature of 
Answer
(B)
4°C
23
A vapour whose molecules are in dynamic equilibrium with those of its own liquid is said to be
Answer
(C)
saturated
24

The diagram above illustrates two waves of equal amplitudes A and frequencies approaching each other. When the two waves meet at a point I midway between them, the vertical displacement of the resulting wave will be

Answer
(D)
\(2A\)
25
A rainbow is formed when sunlight is incident on water droplets suspended in the air due to
Answer
(C)
dispersion
26
Which of the following statements about the 3rd overtone of a vibrating air column of an open pipe is correct? It has
Answer
(A)
4 nodes
27
Consider the wave equation:  \(y =  10sin(x - 50t)\), What does the number 10 represent?
Answer
(C)
Amplitude
28
Plane waves through a narrow gap emerge as circular waves. This phenomenon is known as
Answer
(D)
diffraction
29
A ray of light incident at an angle \(\theta\) in a rectangular prism grazes the surface of the prism on emerging from the prism. Determine the value of the angle. [Absolute refractive index of the material of the prism is 1.5] 
Answer
(A)
41.8°
30

The diagram above illustrates a wave setup between two fixed ends 4.0m apart. If the speed of the wave is 1.0\(ms^{-1}\), its wavelength and frequency respectively are

Answer
(C)
2m; 0.50Hz
31
Two plane mirrors are inclined at an angle 20° to each other. Determine the number of images formed when an object is placed between them.
Answer
(A)
17
32
A converging lens of focal length 10cm forms an erect image three times the size of the real object. Calculate the distance between the image and the object.
Answer
(C)
13.3cm
33
The inverse of the time required for a wave to complete one full cycle is called
Answer
(C)
frequency
34

Two bar magnets are placed near each other. Which of the following diagrams correctly illustrates the magnetic field pattern formed by the pair?

Answer
(B)
II
35
The force per unit charge experienced at a point in a field is the
Answer
(C)
electric field intensity
36
Which of the following objects is not a conductor of electricity?
Answer
(D)
Dry wood
37

A circuit is set up as shown in the diagram above. When the key is closed, the ammeter reading will be

Answer
(C)
2A
38

Which of the following statements is/ are correct?

I. Gravitational potential due to a mass at a point a distance r away is proportional to \(r^{2}\)

II. Gravitational field strength is a vector quantity

III. Gravitational intensity is proportional to the weight of a unit mass.

Answer
(D)
I only
39

The diagrams above illustrate electrical connections to the element of an electric pressing iron.In which of the connections is the fuse correctly fixed?

Answer
(C)
III
40
A transformer connected to a 240\(V_{r.m.s}\) has 3000 turns in its primary coil and 500 turns in its secondary coil. Calculate the output voltage.
Answer
(C)
40V
41
A lamp rated 100W, 240V is lit for 5hours. Calculate the cost of lighting the lamp if 1kWh of electrical energy cost N5.
Answer
(A)
N2.50
42

A battery of e.m.f 3.0V is connected across a potentiometer wire AB of length 10\(\Omega m^{-1}\) as illustrated in the diagram above. If the jockey J makes contact at the 30cm mark, determine the resistance of length AJ and voltage across AJ.

Answer
(A)
3.0\(\Omega\); 0.9V
43
The main reason why a.c. is transmitted at very high voltage and low current is that
Answer
(D)
reduces heat loss
44

The diagram above illustrates two charged bodies, X and Y separated by a distance r. Each body has charge q and mass m. Which of the following statements about the electrostatic force \(F_{e}\) and gravitational force \(F_{g}\) acting between the bodies is correct?

Answer
(D)
\(F_{e}\) is repulsion while \(F_{g}\) is attraction
45
The opposition offered to an alternating current in a C-R series circuit is known as
Answer
(A)
impedance